Размеры металлочерепицы для крыши
В частном домостроении металлочерепица лидирует по частоте применения и популярности у заказчиков. У нее оптимальное сочетание качества и цены, длительный срок эксплуатации, хорошие прочностные характеристики. Разберемся, каких размеров бывает металлочерепица для крыши, как выбрать вид и толщину материала.
Основные технические параметры
В основе металлочерепицы — оцинкованный лист металла, который подвергается профилированию, а в результате принимает форму, напоминающую кровлю из керамической черепицы. Важный параметр — геометрия волны (ее высота и ширина). Основные технические характеристики:
- Толщина металла в диапазоне от 0,4 до 0,6 мм.
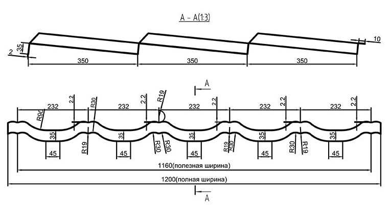
- Стандартная ширина листа 1180 мм (полезная ширина 1100 мм).
- Длина варьируется от 0,5 м до 9 м.
- Вес листа от 2 до 4 кг.
Стальной лист покрывается несколькими защитными слоями и окрашивается составами на основе полиуретанов или фторопластов. При расчете расхода материала учитывается укладка внахлест, которая защищает крышу от протекания.
Важно: Различают полезную (или рабочую) и нормативную площадь листа. Рабочая меньше нормативной в среднем на 10 см. Ателье Фасадов
Толщина листа влияет на прочностные характеристики, а также параметры несущих конструкций. Чем толще металл, тем большие нагрузки может вынести кровля, но при этом повышаются требования к несущим конструкциям. Традиционно используется деревянная обрешетка крыши под металлочерепицу, размер досок зависит от расчетной нагрузки.
Во время планирования монтажа металлочерепицы заранее определяют установку дополнительных элементов, таких как водостоки и воздуховоды. Укладка металлочерепицы требует определенных навыков и знаний, поэтому рекомендуется обращаться к профессиональным монтажникам.
Влияние геометрии волны на качество металлочерепицы
Эксплуатационные свойства кровельных материалов зависят от конфигурации профиля. По технологии производства сначала стальной лист обрабатывается, на него наносится оцинковка, грунтовка, выполняется окрашивание, затем на прокатном станке путем гибки металла формируется профиль.

В процессе профилирования в местах изгиба металл растягивается, слой покрытия истончается. Наличие ступеней или изгибов отражается на долговечности материала. Чтобы предупредить снижение прочности после гибки проводится обязательный контроль качества изделий.
Тонкие листы с большой высотой волны, резкие изгибы профиля могут говорить о кустарном изготовлении кровельного материала. При покупке металлочерепицы стоит доверять проверенным брендам и производителям, хорошо зарекомендовавшим себя на рынке.
Длина и ширина листа
При выборе материалов многие опираются на величину листа. Основные размеры металлочерепицы для крыши (длина и ширина) ограничены стандартом. Согласно ГОСТ максимальная длина листа 900 см. При укладке обычно используют нарезку около 50 см. Длинные листы покупают, чтобы затем выкроить блоки необходимого размера для монтажа кровли сложной конфигурации.

Принята классификация длины:
- сверхмалая – 50 см;
- малая – 120 см;
- средняя – 225 см;
- большая – 360 см;
- сверхбольшая – 450 см.
Производители придерживаются указанного диапазона. Возможны различия в пределах ± 3 см. Заказывая металлочерепицу непосредственно на заводе, можно договориться о нарезке листов по размерам, указанным заказчиком. При перевозке, хранении и укладке по отзывам монтажников удобнее всего работать с листами до 4 м длины.
Второй базовый размер металлочерепицы для крыши — стандарт по ширине. Номинальная величина 116-119 см, рабочая — 110 см. Этот параметр ограничен формой валков прокатного оборудования, на котором производится металлочерепица.
Ширина кровельных материалов рассчитывается производителем в соответствии с требованиями строительных стандартов и нормативов. Необходимо обеспечить оптимальное соотношение между внешним видом кровли, прочностью конструкции и экономической эффективностью строительства.
Высота, шаг и длина волны
У металлочерепицы для крыши размеры волны имеет важное значение в повышении прочности, стойкости к нагрузкам, долговечности. Профиль характеризуется шагом и высотой изгибов.
- Шаг волны — это расстояние между высочайшими точками гребня соседних волн.
- Высота волны — это расстояние между высшей и низшей точками волны, определяется по условным перпендикулярам.
- Диапазон шага волны, предлагаемый производителями, от 185 мм до 400 мм. Наиболее распространен размер 350 мм.

Принята классификация по высоте:
- малая — 20-30 мм;
- средняя — 30-50 мм;
- большая — 50-70 мм.
Это типовые размеры, соответствующие строительным нормативам. По длине металлочерепица также изогнута через каждые 35-40 см. форма изгиба напоминает ступени, высота каждой «ступеньки» около 15 мм.
«Ступеньки» на металлочерепице нужны для того чтобы обеспечить правильное крепление и защиту от проникновения влаги. Они помогают создать вентиляционный зазор, который способствует отведению конденсата и улучшает термоизоляцию кровли. Визуально «ступеньки» придают кровле более естественный вид, напоминающий классическую черепицу, и помогают визуально разделить покрытие на удобные для монтажа участки.
Толщина листа
Толщина металлочерепицы — это характеристика стального листа без учета других слоев (краски, грунтовки). В зависимости от производителя и конкретной модели этот параметр может варьироваться от 0,4 мм до 0,7 мм. При выборе важно соблюдать баланс между надежностью и экономией на материалах. Чем толще металлочерепица, тем она прочнее и долговечнее, чем тоньше, тем дешевле.
Оптимальный вариант для жилья по соотношению цены и качества — металлочерепица толщиной 0,5 мм, для коммунальных (склады, подсобные помещения) зданий — от 0,4 до 0,5 мм. Изделия с толщиной листа от 0,6 до 0,8 мм относятся к премиальному сегменту, используются в сложных климатических условиях, но стоят дороже.
В целом металлочерепица немного толще, чем сталь, из которой она изготовлена, за счет многослойного покрытия. От влаги, коррозии, влияния природных факторов ее защищают:
- Оцинковка — слой толщиной от 275 г на 1 м2, защищающий от сквозного ржавления. Чем толще оцинковка, тем прочнее и долговечнее кровельный материал.
- Полимерное покрытие — бывает из полиуретана, пурала, полиэстера, пластизола или поливинилиденфторида (PVDF). Толщина слоя от 25 мкм до 200 мкм. Самое толстое покрытие дает полиуретан (27 мм).
При правильном уходе и регулярном обслуживании крыши, качественная металлочерепица может прослужить владельцу дома долгие годы, обеспечивая надежную защиту от неблагоприятных погодных условий. Стандартный срок гарантии производителя — 30 лет. Инвестиции в качественные материалы для кровли могут окупаются уже в течение первых 5-10 лет. Вы экономите средства на ремонтах и заменах в будущем.
Влияние размеров листа на вес и нагрузку
Когда используется металлочерепица для крыши размеры листа влияют не только на схему монтажа, но и создаваемую на несущие конструкции нагрузку. По толщине материала можно рассчитать его вес. Стандартно 1 квадратный метр весит от 3,5 кг до 6 кг. Около 0,3 кг/м2 составляет масса декоративного и защитного слоя. Производители указывают вес кровельных материалов в сопроводительных документах.
Низкая масса — одно из преимуществ высокотехнологичной металлочерепицы перед устаревшей керамической черепицей. Она создает гораздо меньшую нагрузку на стропильную систему, при этом обладает большей прочностью, длительным сроком службы, надежностью. Если крыша простой формы, можно до минимума снизить количество швов и стыков.
Выбор по типам крыши
Чтобы рассчитать, какое количество металлочерепицы и какие по габаритам листы вам понадобятся для надежной кровли, перед выбором и покупкой материала необходимо провести ряд измерений. Потребуется вычислить общую площадь кровли, рассчитать габариты каждого ската, а также определить оптимальные размеры каждого листа. При вычислениях учитывается типа кровельного покрытия и форма крыши.
Если сложная конфигурация не позволяет использовать полноразмерную металлочерепицу, выбирайте листы большей площади, чтобы обрезать их так, как вам нужно. Специалисты не рекомендуют использовать короткие фрагменты — большое количество перекрытий вызовет перерасход строительных материалов. Ориентируйтесь на размеры ската, стремитесь сократить количество нахлестов.
Важно: Для кровли сложной конфигурации, особенно вальмовых, с мансардными окнами или 4-скатных, при выборе размеров листа отталкивайтесь от ширины ската. Старайтесь уменьшить площадь отрезаемого угла. Чем длиннее лист металлочерепицы, тем больше отходов образуется. Ателье Фасадов
Также важно учитывать количество дополнительных элементов, таких как коньки, карнизы, водостоки и фальцевые детали. Их размеры тоже должны быть подобраны с учетом особенностей конструкции кровли.
Если не уверены в своих способностях расчета необходимого количества материала, лучше обратиться к профессиональным кровельщикам или консультантам производителя. Специалисты помогут определить оптимальные размеры металлочерепицы для вашей крыши и рассчитать необходимое количество материала для покрытия всей площади. Важное значение имеют условия эксплуатации и климатические особенности вашего региона, от которых зависит нагрузка (толщина снежного покрова зимой, сила ветра, количество осадков) на крышу и другие факторы износа.
Обрешетка и монтаж кровли
Крыша из металлочерепицы конструктивно достаточно сложный элемент. Это многослойная конструкция, которую строители называют «кровельный пирог». Основой для него является стропильная система, на которую опирается обрешетка из досок, теплоизоляция, гидроизоляция, а затем укладывается финальный слой основного материала.
Обрешетка — это каркасная конструкция, которая укладывается на стропила перед укладкой металлочерепицы. Ее задача — создать ровную и прочную основу для крепления металлических листов. Обрешетка обычно делается из деревянных брусьев, но в некоторых случаях допустимо применение металлических профилей. При монтаже кровли из металлочерепицы необходимо правильно расположить и закрепить обрешетку, чтобы обеспечить долговечность и надежность конструкции.
Как длина и толщина листа влияет на надежность крыши:
- Чем толще материал, тем больше его вес. Под тяжелые листы нужна прочная несущая конструкция, толще бревна и чаще шаг обрешетки.
- Кровельные листы большей толщины прочнее, дольше служат, не повреждаются под весом наледи и снега. На них можно монтировать снегодержатели.
- Чем больше площадь листов, тем меньше стыков, быстрее монтаж, ниже вероятность протекания.
Когда выбирается металлочерепица для кровли, необходимо учитывать не только ее внешний вид, но и характеристики, такие как толщина металла, тип декоративного покрытия, параметры волны, габариты листа. Важно предусмотреть расход материала для укладки внахлест. Это необходимо, чтобы обеспечить оптимальное соединение листов между собой и надежное крепление к кровельной обрешетке. Важно учесть расход на обрезку материала под различные дополнительные элементы.